Разработка новой конструкции погрузчика с пескоразбрасывателем для содержания автодорог
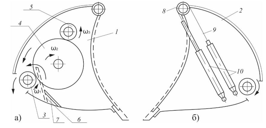
Объектом исследований является многофункциональная дорожно-строительная машина на базе одноковшового фронтального погрузчика, оснащённая трансформирующимся рабочим органом, обеспечивающим выполнение погрузочных, бульдозерных и пескоразбрасывательных операций в условиях высокогорных автомобильных дорог. В рамках исследования рассматриваются процессы взаимодействия сменных и трансформируемых рабочих органов с дорожным покрытием, эксплуатационные нагрузки, надежность, прочность, долговечность и работоспособность элементов конструкции машины.
Обоснование темы. Выбор темы обусловлен необходимостью создания эффективных, экономичных и надежных многоцелевых машин для обслуживания высокогорных автомобильных дорог, где наблюдаются сложные климатические и природно-геологические условия: камнепады, сели, снежные лавины, интенсивные снегопады и гололед. В современных условиях значительная часть технологических процессов по обработке проезжей части антигололедными материалами выполняется вручную или разрозненными специализированными машинами, которые обладают ограниченным коэффициентом использования и приводят к увеличению эксплуатационных расходов подрядных организаций.
Технологическая необходимость совмещения нескольких функций в одном базовом шасси обусловлена:
- высокими затратами на содержание и транспортировку отдельных специализированных машин;
- простоями техники при низком коэффициенте участия в технологических процессах;
- трудностью эксплуатации отдельной техники на удаленных горных участках дорог;
- потребностью в повышении надежности и адаптивности машин к переменным условиям высокогорья;
- отсутствием достаточного количества искусственных сооружений для защиты дорог от природных воздействий.
Тем самым предлагаемый подход — разработка машины с трансформирующимся рабочим органом — обеспечивает повышение производительности, снижение эксплуатационных затрат, унификацию технологических операций и повышение эффективности обслуживания дорог в сложных условиях.
Возможные области применения. Результаты исследования могут быть применены в дорожном хозяйстве и эксплуатации высокогорных автодорог (очистка дорог от снега, наледи и камнепадного материала; распределение антигололедных смесей; восстановление профиля дорожного полотна), в дорожно-строительных и подрядных организациях (замена нескольких единиц техники одной многофункциональной машиной; снижение затрат на содержание, транспортировку и эксплуатацию машинного парка; повышение коэффициента использования техники), в эксплуатации в условиях повышенных природных рисков (работы на лавиноопасных участках; обслуживание дорог в условиях сезонных гололедов и снегопадов; обеспечение устойчивого транспортного сообщения в чрезвычайных ситуациях), в конструкторских и проектных бюро дорожно-строительной техники (создание новых модификаций трансформируемых машин; совершенствование рабочих органов с учётом критериев прочности, жесткости, износостойкости и виброустойчивости; разработка надежных и адаптивных механизмов трансформации), в учебных и научно-исследовательских учреждениях (использование результатов для подготовки специалистов; развитие методологий оценки надежности многофункциональных машин; проведение последующих исследований в области адаптивных и трансформируемых рабочих органов).
Целью проекта является разработка машины многоцелевого назначения, а именно новой конструкции погрузчика с пескоразбрасывателем для содержания автодорог на базе выбранной модели существующих погрузчиков, для расчистки и обработки поверхности проезжих частей горных дорог с реагентами или инертными материалами для улучшения сцепления между колесами транспортных средств и поверхностью дороги.
Полученные результаты:
НИР выполняется согласно утвержденному календарному плану и графику выполнения:
1. Обоснован привод рабочих органов в зависимости от воспринимаемых нагрузок рабочими органами.
2. Разработана и обоснована конструкция рабочего органа пескоразбрасывателя с продольными выемками, со шнеком и с зубьями в виде усеченной пирамиды с шахматным расположением, выполненные на цилиндрической поверхности.
3. Разработаны расчетные схемы для определения статических нагрузок, действующие на вал и подшипниковым опорам.
4. Определены основные параметры с учетом коэффициента запаса прочности.
5. Разработаны расчетные схемы, с учетом действующих всех внешних сил на рабочий орган для обоснования геометрических параметров рабочего органа с целью обеспечения надежности долговечности конструкций, а также для минимизации энергоемкости и материалоемкости;
6. Составлены и предложены математические модели, описывающие многоэтапные последовательные движения нескольких функциональных механизмов соответствующих различным режимам работ, сводятся к квазилинейным системам дифференциальных уравнений вторых порядков с начальными условиями. Математические модели для всех этапов были составлены, а достоверное численное решение получено для второго этапа движения ДСМ. Для интегрирования упомянутых уравнений используется численный метод стрельбы, использующего схемы метода Эйлера, имеющий второй порядок аппроксимации. Более подробные численные эксперименты для других этапов решения задачи запланированы на следующем этапе исследования.
7. Получены уравнения статики равновесия и определены неизвестные величины, как реакции опоры (ZА), (ZВ), (ХА), (ХВ) и величины силы (Р), действующий на привод рабочего органа через зубчатой шестерни, насаженной на конце вала;
8. По проведённым анализам обоснованы присутствия силы трения Fтр, которое особое место занимает в области машиностроения и в их эксплуатации. При этом выявлены, что сила трения выполняет полезные и отрицательные работы, т.е. когда противодействуют к другим полезным работам, выполняемые машинами и механизмами, например, при разбрасывании песков или других реагентов с помощью пескоразбрасывателя. Сила трения Fтр, возникающая между рабочим органом и материалами (песок, щебень и др.) выполняет отрицательную работу в виде сопротивления со стороны разбрасываемых материалов, соответствующим образом требуя определённых приводных усилий. В то же время Fтр выполняет определённые полезные работы, как предотвращение самопроизвольного высыпания материалов через расщелины ковша за счёт сил трения Fтр, возникающие между частицами выбрасываемых материалов, и частиц с поверхностями рабочих органов, при работе пескоразбрасывателя в режиме погрузчика.
Используя определенные значения неизвестных, легко можно выходить к запасам прочности с выходом на геометрические параметры рабочего органа. Далее соответствующим образом будут определены другие геометрические и кинематические параметры, как объем ковша, скорость вращения рабочего органа, количества продольных выемок на валу и другие.
По итогам 2025 года 1 статья («Design Features of a Sand Spreader Based on a Single-Bucket Loader with a Transforming Working Body» по итогам IV МНПК «Устойчивое развитие: техника, энергетика, материаловедение, физика и машиностроение» (VMAEE-IV-2025)) принята к публикации в базе данных Scopus, еще 2 статьи («Mathematical model of description of a bulldozer-loader works in three-component quasilinear equations and analysis of numerical solution methods in implementing the problem», «Обоснование геометрических параметров расщелины ковша для высыпания антигололедных материалов на проезжую часть дороги») поданы для публикации в журналах Scopus, 1 статья («Обоснование величин действующих нагрузок на рабочий орган многофункционального пескоразбрасывателя, разработанный на базе одноковшового фронтального погрузчика») – в журнал «Вестник СибАДИ» с импакт-фактором 0,752.

